Рентгенозащитные перчатки предназначены в первую очередь для применения медперсоналом во время рентгенологического исследования или лечения, в течение которого не исключается возможность того, что руки (кисти рук) и предплечья попадут в пучок излучения или в область с высокой интенсивностью рассеянного излучения. Для удобства работы предварительно на руки персонала рекомендуется одевать хлопчатобумажную перчатку.


Примечания
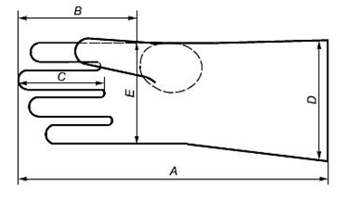
1 размеры A, B, C, D, E приведены на рисунке 1.
2 размеры A, B, C, D, E являются минимальными размерами.
